B-Hub Sprockets

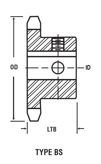
Enhance your machinery's performance with Type "B" single side hub roller chain sprockets. Our sprockets come in finished bore (FB) and reboreable (MPB) options. Finished bore sprockets are known as "Type B" or "Type BS" sprockets. These sprockets have a hub on one side with a keyway & 2 setscrews. One setscrew is position over the keyway and the second is 90° off the keyway. Reboreable sprockets (MPB for Minimum Plain Bore) are straight thru diameters with no keyway. Our sprockets are manufactured from quality carbon steel and have the teeth hardened for wear resistance. All finished bore sprockets are made to the ANSI B29.1 industry standards for chain & sprockets. Our B Hub sprocket feature hardened teeth for wear resistance, are made From 1045 Cold Drawn Carbon Steel and designed with precision machined & hobbed teeth. All Maxtran sprockets are Manufactured in the USA!

348 of 1793 Items